صندلی خودرویی که از سرنشین محافظت میکند (+عکس)
یک شرکت فناوری حق امتیازی جدیدی برای یک صندلی خودرو ثبت کرده که خطر را به سرنشین هشدار می دهد و طوری جمع می شود که به او آسیبی نرسد.

موبنا – اپل از حق امتیاز اختراع صندلی مجهز به نام «بازخورد لمسی برای سیستم صندلی پویا»(haptic feedback for dynamic seating system )رونمایی کرده که می تواند به طرق مختلف با مسافر ارتباط برقرار کند.

صندلی، خطر را به وسیله سیگنال های ارتعاشی به کاربر هشدار می دهد یا با تا شدن سعی می کند فرد را در وضعیتی ایمن حفظ کند.
این ابراز احتمالا برای ارتقای ایمنی در خودروهای خودران به کار گرفته خواهد شد. البته اپل مشغول آزمایش با خودروهای Lexus مجهز به حسگرها و دوربین ها در این زمینه است.

به هرحال صندلی ها مجهز به حسگرهایی هستند که یک سیستم بازخورد لمسی را فعال می کند و با ایجاد ارتعاش به راننده هشدار می دهد که باید دقت کند.
سیستم های فعلی زمانی پیام هشدار صوتی می فرستند که خودرو در یک جهت خاص مسیر خود را تغییر می دهد. اما طبق حق امتیاز حتی اگر خودرو به یکی از خطوط لاین نزدیک شود، صندلی به راننده هشدار می دهد.

طبق توضیحات این حق امتیاز، سیستم بازخورد لمسی با استفاده از یک یا چند واحد پردازش مرکزی کار می کند. به عبارت ساده یک رایانه در خودرو شرایط و وضعیت خارجی را بررسی می کند و در صورتیکه خطری زندگی سرنشین را تهدید کند(مانند تغییر ناگهانی در حرکات خودرو) به او هشدار می دهد.
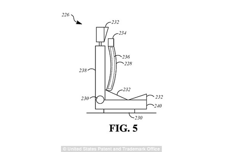
بخش دیگری از حق امتیاز مربوط به ساخت صندلی هایی است که بتوانند در وضعیت های مختلف تا شوند تا از مجروح شدن مسافر جلوگیری کنند.
به عنوان مثال ممکن است صندلیکاملا باز شود تا راننده در وضعیت ایمن تری قرار گیرد.
همچنین این صندلی می تواند کمربند راننده را باشدت بیشتری بکشد یا ارتفاع خود را بیفزاید.
در این حق امتیاز اشاره شده این صندلی ها در اصل برای خودروهای خودران به کار گرفته می شوند.
منبع: مهر



