ممکن است در گوشیهای آینده سامسونگ دوربینهای سلفی زیر صفحه نمایش قرار بگیرند
سامسونگ به دنبال غافلگیر کردن کاربران خود با امکانات جدیدی است که البته ممکن است برای بعضی افراد هم ناخوشایند باشد.

موبنا – با بدون حاشیه شدن گوشیهای هوشمند، حسگرهای اثر انگشت به قسمت پشتی گوشیهای هوشمند منتقل شدند، اما ممکن است دوباره به جلو بازگردند؛ فقط این بار زیر صفحه نمایش قرار خواهند گرفت. درمورد دوربین سلفی، نمیتوان آن را پشت گوشی قرار داد که همین باعث شد بعضی گوشیها مثل آیفون ۱۰ و گوشیهای مهم دیگر به پیشرفتهایی دست پیدا کنند. ولی آیا دوربینها میتوانند مانند حسگر اثر انگشت زیر صفحه نمایش قرار بگیرند؟
یکی از پتنتهای سامسونگ چنین موردی را نشان میدهد. این پتنت پا را یک قدم فراتر گذاشته است و همه چیز را زیر صفحه نمایش قرار میدهد، از جمله بلندگو و حسگرهای نور محیطی و مجاورتی. شیائومی می میکس (یکی از پیشگامان در زمینه گوشیهای بدون حاشیه) پیش از این بلندگویی زیر صفحه نمایش قرار داده بود؛ اما بازخورد خیلی خوبی نداشت.






در شیائومی می میکس، دوربین سلفی هم پایین گوشی قرار دارد که خیلی مورد پسند ما نیست. این پتنت نشان میدهد که دوربین سلفی به روال معمول در قسمت بالایی گوشی قرار میگیرد. اما اگر دوربین میتواند از طریق صفحه نمایش شما را ببیند، پس میتواند هر جایی قرار بگیرد. این موضوع یکی از مشکلات اساسی هنگام برقراری تماسهای تصویری را برطرف میکند و دیگر مجبور نیستید یا به چشم طرف مقابل خیره شوید یا به دوربین.
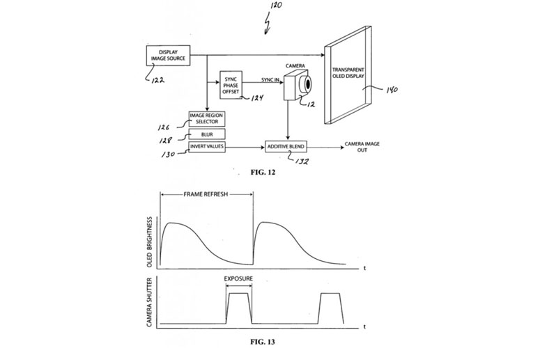
به هر حال، مشکل این است که هنوز کسی چنین دوربینی نساخته است. پتنتی (توسط سامسونگ، اپل، الجی و دیگران به آن اشاره شده است) استفاده از OLED شفاف را پیشنهاد میکند. با نرخ رفرش بالا، دستگاه میتواند صفحه نمایش را روشن و خاموش کند و به دوربین امکان دهد در زمان خاموش بودن صفحه نمایش، تصویرها را ثبت کند.
منبع: زومیت




