ثبت اختراع جدید اپل برای ساخت آیفون انعطافپذیر
این نمایشگر به گونهای ساخته شده است که میتواند مانند کتاب باز و بسته شود و به کمک لولاهایی که در قسمت مرکزی آن کار گذاشته شده است به راحتی خم شود.

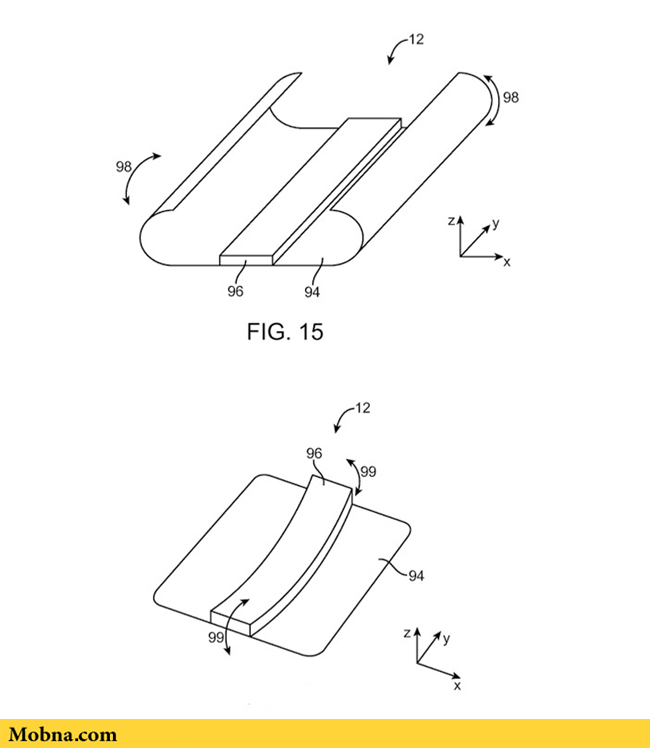
موبنا – سازمان ثبت اختراعات و علایم تجاری آمریکا (USPTO) یک کپی از حق امتیاز جدید اپل منتشر کرده است که نشان میدهد این شرکت به دنبال ساخت نمایشگر انعطافپذیر برای گوشی هوشمند آیفون است.
این نمایشگر به گونهای ساخته شده است که میتواند مانند کتاب باز و بسته شود و به کمک لولاهایی که در قسمت مرکزی آن کار گذاشته شده است به راحتی خم شود. ماه گذشته در یک خبر مجزا همچنین اعلام شد که اپل به دنبال آغاز همکاریهای جدید با الجی است تا به کمک آنها بتواند نمایشگر نرم و خمشدنی بسازد. شرکت اپل بر این باور است که الجی بهترین گزینه محسوب میشود و در این فرآیند سامسونگ انتخاب نشده است.

شرکت اپل بر این باور است که مرکز توسعه نمایشگرهای سامسونگ نمیتواند دهان خود را بسته نگه دارد تا خبر تولید نمایشگرهای انعطافپذیر به بیرون درز نکند. زیرا طی چند ماه اخیر تصاویر و خبرهای فراوان در مورد گوشیهای انعطافپذیر «گلکسی ایکس» سامسونگ در رسانههای خبری منتشر شد.

آیفون انعطافپذیر و تاشدنی تا پیش از سال ۲۰۲۱ وارد بازار نمیشود و به عبارت دیگر شرکت اپل پس از آنکه در سال ۲۰۲۰ میلادی نخستین هدست واقعت افزوده (AR) را روانه بازار میکند، سراغ آیفون نرم و انعطافپذیر میرود.
در عنوان حق امتیازی که اپل به تازگی ثبت کرده است «دستگاههای الکترونیکی با نمایشگرهای انعطافپذیر» نوشته شده است. در زمینه تولید نمایشگرهای انعطافپذیر شرکت سامسونگ سرمایهگذاریهای فراوان انجام داده است و تصمیم دارد سری گوشیهای «گلکسی ایکس» خود را با این قابلیت وارد بازار کند و البته پیشبینی شده است این گوشیها از سال ۲۰۱۸ به صورت محدود فروخته شوند.





